Welcome to the American Hydrotech Resource Center
PDS - Hydrotech® Flex-Flash FV (Vertical)
R-11B
Typical Parapet - Exposed Flashing Conditions
W-15B
Vertical Tie-In Details
PDS - Hydrotech® HydroSeal Fleece
R-11C
Typical Parapet - Gypsum Board/Metal Deck Substrate
PDS - Hydrotech® Adjustable Pedestal
R-11C
Typical Parapet - Gypsum Board/Metal Deck Substrate
PDS - Hydrotech® HydroSeal Finish-Textured
R-11D
Typical Parapet - At Precast Wall
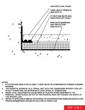
UA-1
Typical Termination At Wall/Parapet/Curb
PDS - Hydrotech® Slope Compensation
R-11D
Typical Parapet - At Precast Wall